Văn phòng Thương hiệu và Sáng chế Hoa Kỳ, hôm qua 16/7, đã cấp cho Apple giấy chứng nhận quyền sở hữu bằng sáng chế mô tả cách nhũng trực tiếp máy chiêu vào iPhone hoặc iPad.
Văn phòng Thương hiệu và Sáng chế Hoa Kỳ, hôm qua 16/7, đã cấp cho Apple giấy chứng nhận quyền sở hữu bằng sáng chế mô tả cách nhũng trực tiếp máy chiêu vào iPhone hoặc iPad.

Ảnh minh họa. (Nguồn: i.i.com.com)
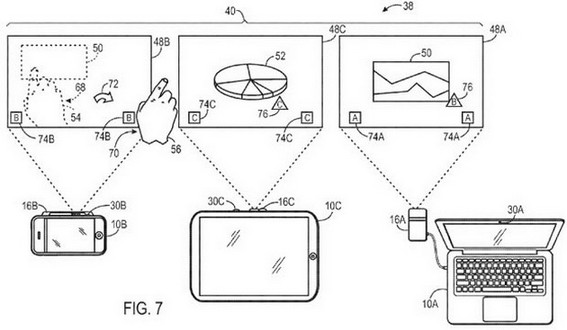
Bằng sáng chế của Apple có tên gọi " Projected display shared workspaces" (dự án chia sẻ hình ảnh không gian làm việc) mô tả một công nghệ cho phép tích hợp một máy chiếu nhỏ vào các thiết bị iOS và cung cấp cho người dùng khả năng kiểm soát các bài thuyết trình của mình với cử chỉ trên màn hình trình chiều.
Công nghệ này sẽ dựa trên một máy ảnh tích hợp để phát hiện bóng tối và tạo bóng hình thông qua cử chỉ tại các khu vực dự kiến.
Công nghệ máy chiếu cho phép biến chiếc iPhone hoặc iPad thành một máy chiếu kết nối với máy tính hoặc các thiết bị đầu phát khác có hỗ trợ kết nối chia sẻ hình ảnh với iPhone hoặc iPad.
Hiện nay, thị trường công nghệ đã xuất hiện nhiều phụ kiện giúp biến iPhone hoặc iPad thành máy chiếu. Tuy nhiên, với việc tích hợp thẳng máy chiếu vào iPhone hoặc iPad, người sử dụng sẽ không còn quá bận tâm tới việc phải để ý xem có mang theo một phụ kiện máy chiếu đi kèm mỗi lần tham gia các cuộc hội thảo hay không đồng thời tiết kiệm chi phí đầu tư các phụ kiện này, vốn có giá khá cao trên thị trường.
Phác họa công nghệ tích hợp máy chiếu vào iPhone và iPad của Apple:

Nguồn: http://www.vietnamplus.vn/Home/Apple-co-the-tich-hop-may-chieu-vao-cac-thiet-bi-iOS/20137/207098.vnplus
Việt Đức
theo Vietnam+